Johnson-Cook Failure Model Parameters of Tantalum-Tungsten Alloy for Rod-Shaped EFP
-
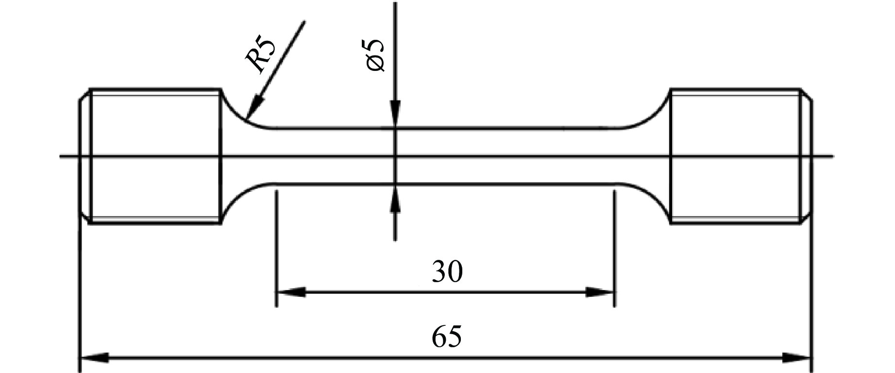
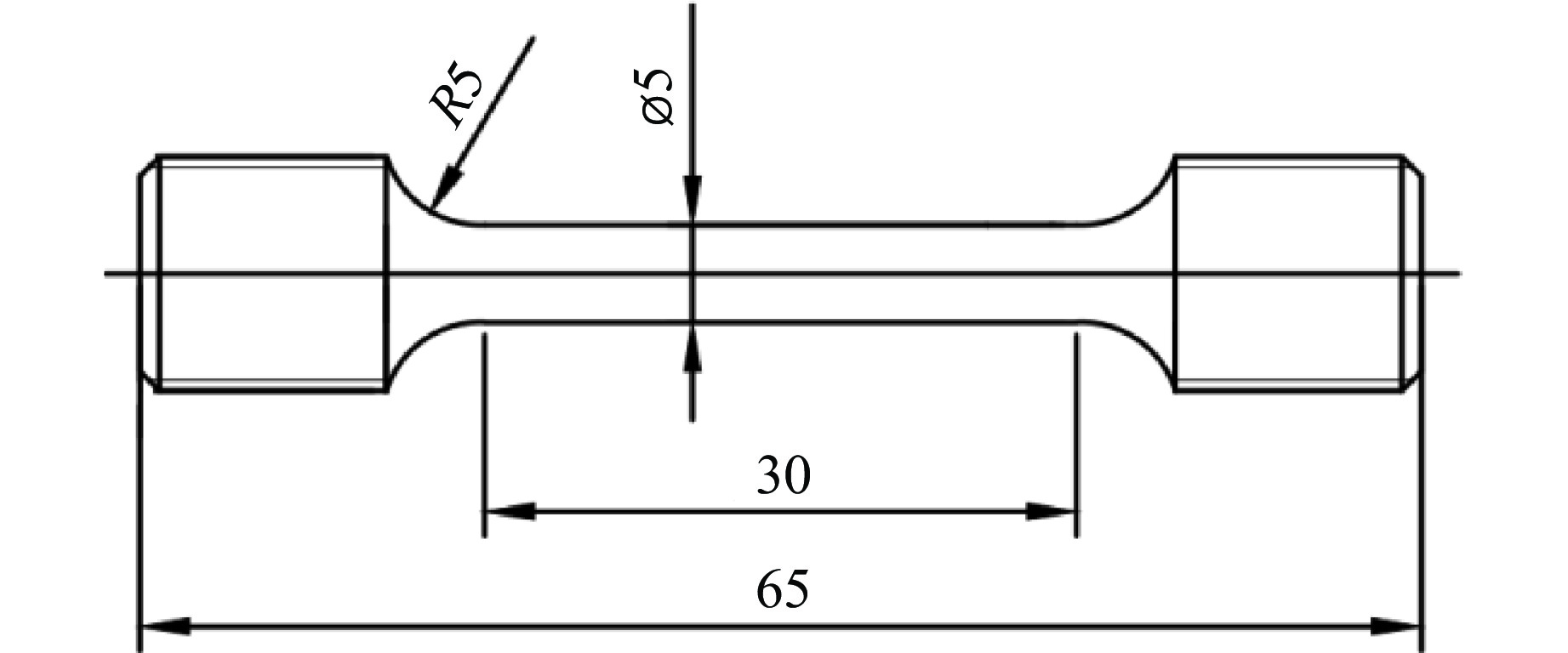
摘要: 针对目前数值仿真不能有效预测钽钨合金药型罩聚能装药杆式爆炸成型弹丸(Explosive formed projectile,EFP)的爆炸成型和断裂问题,开展了钽钨合金材料在不同应力、应变率以及温度条件下的力学性能实验,通过实验数据拟合得到了材料的Johnson-Cook失效模型参数。基于LS-DYNA嵌入该套模型参数开展了典型球缺钽钨药型罩EFP的成型仿真,通过同结构聚能装药静爆脉冲X射线摄影实验对仿真形成的EFP形状和速度计算结果进行对比验证。结果表明:将实测Johnson-Cook失效模型参数应用于杆式EFP成型的数值仿真时,各项成型参数的计算结果(形状、速度等)与实验结果的相对误差均小于9%,实现了对杆式EFP成型及断裂的准确预测。
-
关键词:
- 爆炸成型弹丸 /
- 钽钨合金 /
- Johnson-Cook失效模型
Abstract: Due to the limitation of current numerical simulation model in predicting the fracture of rod-shaped tantalum-tungsten (Ta-W) alloy explosive formed projectile (EFP) during the forming process, the tests of the mechanical properties of Ta-W alloy specimen under different stress, strain rate and temperature conditions were carried out to obtain the parameters of Johnson-Cook failure model. The forming process of Ta-W EFP with typical charge structure was simulated by LS-DYNA software using the Johnson-Cook failure model and adaptive algorithm. X-ray experiment was carried out to verify the effectiveness of the numerical simulation. When the failure model was used in the numerical simulation of rod-shaped EFP molding, the prediction of EFP fracture was better, and the errors between the simulation results and the experiment results were less than 9%. The results revealed that the formation and fracture of rod-shaped EFP can be accurately predicted by the failure model. -
表 1 钽钨合金化学成分
Table 1. Chemical composition of tantalum tungsten alloy
(%) Nb W Mo N O Si 0.006 6 2.830 0 0.001 0 0.001 5 0.007 1 0.001 0 表 2 数值模拟中采用的材料模型参数
Table 2. Material models used in the numerical simulation
Component Material $\,\rho $/(g∙cm−3) Equation of state Constitutive relation Failure model Liner Ta-W 16.65 Grüneisen Johnson-Cook None (Ⅰ) Johnson-Cook (Ⅱ) Shell 45 steel 7.83 Grüneisen Johnson-Cook None Charge JH-2 1.71 JWL High-Explosive-Burn None 表 3 钽钨合金的Johnson-Cook本构模型参数[16]
Table 3. Material parameters of Johnson-Cook constitutive model for Ta-W[16]
A/MPa B/MPa n C m 211 381 0.75 0.068 0.38 表 4 数值模拟与实验得到的EFP成型形态对比
Table 4. Comparisons of EFP forming states in numerical simulation and experiment
$\delta $/mm Simulation Ⅰ
(Without failure model)Simulation Ⅱ
(With failure model)X-ray imaging
experimentForming time/
μs2.0 


300 1.5 


270 表 5 数值模拟与实验得到的EFP成型参数对比
Table 5. Comparisons of EFP forming results in numerical simulation and experiment
$\delta $/mm Method Velocity/(m·s–1) Length/mm Diameter/mm 2.0 Simulation Ⅰ 1718 41.6 11.4 Simulation Ⅱ 1718 41.6 11.4 Experiment 1770 41.3 10.8 1.5 Simulation Ⅰ 1968 51.5 8.9 Simulation Ⅱ 2021 36.1+14.7 10.4 Experiment 2120 33.2+15.6 10.1 -
[1] 隋树元, 王树山. 终点效应学[M]. 北京: 国防工业出版社, 2000: 233–237.SUI S Y, WANG S S. Terminal effects [M]. Beijing: National Defense Industry Press, 2000: 233–237. [2] 杨绍卿. 灵巧弹药工程[M]. 北京: 国防工业出版社, 2010: 1–7.YANG S Q. Smart munition engineering [M]. Beijing: National Defense Industry Press, 2010: 1–7. [3] KIM H J, YI Y S, PARK L J. Analysis of forming characteristics of Ta EFP according to material model [J]. The European Physical Journal Conferences, 2015, 94: 04060. doi: 10.1051/epjconf/20159404060 [4] 郭腾飞, 李伟兵, 李文彬, 等. 钽罩结构参数对EFP成型及侵彻性能的控制 [J]. 高压物理学报, 2018, 32(3): 96–103.GUO T F, LI W B, LI W B, et al. Controlling effect of tantalum liner's structural parameters on EFP formation and penetration performance [J]. Chinese Journal of High Pressure Physics, 2018, 32(3): 96–103. [5] 樊雪飞, 李伟兵, 王晓鸣, 等. 爆轰驱动钽药型罩形成双模毁伤元仿真与试验研究 [J]. 兵工学报, 2017, 38(10): 1918–1925.FAN X F, LI W B, WANG X M, et al. Simulation and experimental study of tantalum liner to form dual-mode damage element by detonation [J]. Acta Armamentarii, 2017, 38(10): 1918–1925. [6] 朱志鹏, 门建兵, 蒋建伟, 等. 大长径比钽爆炸成型弹丸控制研究 [J]. 兵工学报, 2018, 39(Suppl 1): 29–36.ZHU Z P, MEN J B, JIANG J W, et al. Forming control of tantalum EFP with large aspect ratio [J]. Acta Armamentarii, 2018, 39(Suppl 1): 29–36. [7] 丁力, 蒋建伟, 门建兵, 等. 爆炸成型弹丸成型过程中的断裂数值模拟及机理分析 [J]. 兵工学报, 2017, 38(3): 417–423.DING L, JIANG J W, MEN J B, et al. Numerical simulation and mechanism analysis of EFP’s fracture in forming process [J]. Acta Armamentarii, 2017, 38(3): 417–423. [8] 彭建祥. 钽的本构关系研究 [D]. 绵阳: 中国工程物理研究院, 2001.PENG J X. Constitutive behavior of tantalum [D]. Mianyang: Chinese Academy of Engineering Physics, 2001. [9] 郭伟国. 锻造钽的性能及动态流动本构关系 [J]. 稀有金属材料与工程, 2007, 36(1): 23–27.GUO W G. The characteristics of forged tantalum and dynamic constitutive modelling [J]. Rare Metal Materials and Engineering, 2007, 36(1): 23–27. [10] 闫洪霞, 高重阳. BCC金属物理型动态本构关系及在钽中的应用 [J]. 兵工学报, 2010, 31(Suppl 1): 149–153.YAN H X, GAO C Y. A physically-based constitutivemodel for BCC metals and its application in tantalum [J]. Acta Armamentarii, 2010, 31(Suppl 1): 149–153. [11] GAO F, ZHANG X F, AHMAD S, et al. Dynamic behavior and constitutive model for two tantalum-tungsten alloys under elevated strain rates [J]. Rare Metal Materials & Engineering, 2017, 46(10): 2753–2762. [12] KIM J B, SHIN H. Comparison of plasticity models for tantalum and a modification of the PTW model for wide ranges of strain, strain rate, and temperature [J]. International Journal of Impact Engineering, 2009, 36(5): 746–753. doi: 10.1016/j.ijimpeng.2008.11.003 [13] JOHNSON G R, COOK W H. Fracture characteristics of three metals subjected to various strains, strain rates, temperatures and pressures [J]. Engineering Fracture Mechanics, 1985, 21(1): 31–48. doi: 10.1016/0013-7944(85)90052-9 [14] BRIDGMAN P W. Studies in large plastic flow and fracture: with special emphasis on the effects of hydrostatic pressure [M]. New York: McGraw-Hill, 1952. [15] 林莉, 支旭东, 范锋, 等. Q235B钢Johnson-Cook模型参数的确定 [J]. 振动与冲击, 2014, 33(9): 153–158, 172.LIN L, ZHI X D, FAN F, et al. Determination of parameters of Johnson-Cook models of Q235B steel [J]. Journal of Vibration and Shock, 2014, 33(9): 153–158, 172. [16] 朱志鹏. 反ERA铜钽双EFP设计技术研究 [D]. 北京: 北京理工大学, 2019: 33–37.ZHU Z P. Research on design technology of anti-ERA tantalum-copper double EFP [D]. Beijing: Beijing Institute of Technology, 2019: 33−37. -

下载: