弹头形状对刚性动能弹丸垂直穿透钢板的影响

孙炜海 鞠桂玲 张超群 雷冠雄

孙炜海, 鞠桂玲, 张超群, 雷冠雄. 弹头形状对刚性动能弹丸垂直穿透钢板的影响[J]. 高压物理学报, 2017, 31(5): 548-556. doi: 10.11858/gywlxb.2017.05.007
引用本文: 孙炜海, 鞠桂玲, 张超群, 雷冠雄. 弹头形状对刚性动能弹丸垂直穿透钢板的影响[J]. 高压物理学报, 2017, 31(5): 548-556. doi: 10.11858/gywlxb.2017.05.007
SUN Wei-Hai, JU Gui-Ling, ZHANG Chao-Qun, LEI Guan-Xiong. Influences of Projectile Nose Shape on the Normal Perforation of Steel Plates by Rigid Projectiles[J]. Chinese Journal of High Pressure Physics, 2017, 31(5): 548-556. doi: 10.11858/gywlxb.2017.05.007
Citation: SUN Wei-Hai, JU Gui-Ling, ZHANG Chao-Qun, LEI Guan-Xiong. Influences of Projectile Nose Shape on the Normal Perforation of Steel Plates by Rigid Projectiles[J]. Chinese Journal of High Pressure Physics, 2017, 31(5): 548-556. doi: 10.11858/gywlxb.2017.05.007

弹头形状对刚性动能弹丸垂直穿透钢板的影响

doi: 10.11858/gywlxb.2017.05.007
基金项目: 

国家自然科学基金青年基金 11202242

详细信息
    作者简介:

    孙炜海(1982—),男,博士,讲师,主要从事冲击动力学研究.E-mail:weihai_sun@163.com

  • 中图分类号: O347.3

Influences of Projectile Nose Shape on the Normal Perforation of Steel Plates by Rigid Projectiles

  • 摘要: 为了研究弹头形状对穿甲性能的影响,对直径20 mm的刚性动能弹丸垂直穿透12 mm厚度的Weldox 460E钢板进行了数值模拟。保持弹丸的质量和直径不变,锥头弹丸的锥角θ变化范围为10°~180°,卵头弹丸的曲径比ψ变化范围为0.5~4.0,考虑摩擦效应,研究了177~500 m/s速度范围内弹头形状的变化对靶板弹道性能与破坏模式的影响。研究结果表明:锥头弹丸的锥角变化对靶板的弹道极限速度有明显影响,当锥角增加到大于临界锥角时,靶板的破坏模式从延性扩孔破坏转变为冲塞破坏;ψ ≥3.0时,卵头弹丸的曲径比变化对靶板的弹道极限速度有明显影响,ψ ≥1.0时,靶板的破坏模式均为延性扩孔破坏;弹头的尖锐程度越大,摩擦效应的影响越大。

     

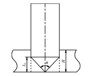
  • 图  弹的几何形状

    Figure  1.  Geometry of the projectiles

    图  二维轴对称数值模型(θ=90°)

    Figure  2.  Axi-symmetric mesh configuration (θ=90°)

    图  残余速度的计算结果与实验数据的比较[2, 14]

    Figure  3.  Comparison of the present numerical simulations with the experimental results for residual velocities[2, 14]

    图  弹道极限随锥角的变化

    Figure  4.  Variation of ballistic limit with cone angle

    图  靶板在不同锥角弹丸撞击下的破坏模式

    Figure  5.  Failure modes of the steel target impacted by the projectile with different cone angles

    图  弹道极限随曲径比的变化

    Figure  6.  Variation of ballistic limit with ψ

    图  靶板在卵头弹丸撞击下的破坏模式

    Figure  7.  Failure modes of target impacted by ogive-nosed projectiles

    图  弹丸穿透时的摩擦效应

    Figure  8.  Effect of friction in the perforation by the projectiles

    图  破坏模式转化的临界情况

    Figure  9.  Transition of failure modes

    图  10  等效应力云图(θ=90°, t=100 μs)

    Figure  10.  Fringes of equivalent stress (θ=90°, t=100 μs)

    图  11  锥头弹的加速度-时间曲线(θ=90°, vs=290 m/s)

    Figure  11.  Deceleration-time history for a conical-nosed projectile (θ=90°, vs=290 m/s)

    表  1  Weldox 460E钢的材料参数[13]

    Table  1.   Material parameters for Weldox 460E steel target[13]

    E/(GPa) ν ρt/(kg/m3) A/(MPa) B/(MPa) n $ {{\dot \varepsilon }_0} $/(s-1) C m
    200 0.33 7 850 490 383 0.45 5×10-4 0.012 3 0.94
    G/(GPa) Tm/(K) Tr/(K) cp/[J/(kg·K)] D1 D2 D3 D4 D5
    75.2 1 800 293 452 0.070 5 1.732 -0.54 0.0 0.0
    下载: 导出CSV
  • [1] ROSENBERG Z, DEKEL E.Terminal ballistics [M].New York:Springer, 2012:109111.
    [2] BØRVIK T, LANGSETH M, HOPPERSTAD O S, et al.Perforation of 12 mm thick steel plates by 20 mm diameter projectiles with flat, hemispherical and conical noses, Part Ⅰ:experimental study [J].Int J Impact Eng, 2002, 27(1):19-35. doi: 10.1016/S0734-743X(01)00034-3
    [3] BØRVIK T, HOPPERSTAD O S, BERSTAD T, et al.Perforation of 12 mm thick steel plates by 20 mm diameter projectiles with flat, hemispherical and conical noses, Part Ⅱ:numerical simulations [J].Int J Impact Eng, 2002, 27(1):37-64. doi: 10.1016/S0734-743X(01)00035-5
    [4] GUPTA N K, IQBAL M A, SEKHON G S.Effect of projectile nose shape, impact velocity and target thickness on deformation behavior of aluminum plates [J].Int J Solids Struct, 2007, 44:34113439. http://www.sciencedirect.com/science/article/pii/S0734743X06003186
    [5] 孙炜海, 鞠桂玲, 陈德民, 等.锥头弹丸穿透薄钢板的实验研究[J].高压物理学报, 2012, 26(1):69-75. http://www.gywlxb.cn/CN/abstract/abstract1426.shtml

    SUN W H, JU G L, CHEN D M, et al.An experimental study of thin steel plates perforated by conical-nosed projectiles [J].Chinese Journal of High Pressure Physics, 2012, 26(1):69-75. http://www.gywlxb.cn/CN/abstract/abstract1426.shtml
    [6] CHEN X W, LI Q M, FAN S C.Initiation of adiabatic shear failure in a clamped circular plate struck by a blunt projectile [J].Int J Impact Eng, 2005, 31(7):877-893. doi: 10.1016/j.ijimpeng.2004.04.011
    [7] WEN H M, SUN W H.Transition of plugging failure modes for ductile metal plates under impact by flat-nosed projectiles [J].Mechanics Based Design of Structures and Machines, 2010, 38(1):86-104. doi: 10.1080/15397730903415892
    [8] BEN-DOR G, DUBINSKY A, ELPERIN T.Analytical engineering models of high speed normal impact by hard projectiles on metal shields [J].Cent Eur J Eng, 2013, 3(3):349-373. doi: 10.2478/s13531-013-0108-7
    [9] OSBORN C J, WOODWARD R L.The effect of penetrator geometry on the deformation of ductile metal targets [J].Strength of Metals and Alloys, 1982, 1:467-472. http://www.sciencedirect.com/science/article/pii/B978148328423150078X
    [10] IQBAL M A, GUPTA G, DIWAKAR A, et al.Effect of projectile nose shape on the ballistic resistance of ductile targets [J].Eur J Mech A/Solids, 2010, 29(4):683-694. doi: 10.1016/j.euromechsol.2010.02.002
    [11] BIVIN Y K.Fracture of metal plates on normal impact by a rigid conical body [J].Mech Solids, 2014, 49(4):445-452. doi: 10.3103/S0025654414040098
    [12] JOHNSON G R, COOK W H.A constitutive model and data for metals subjected to large strains, high strain rates and high temperatures[C]//7th International Symposium on Ballistics.The Hague, Netherlands, 1983: 541-547.
    [13] TENG X Q, DEY S, BØRVIK T, et al.Protection performance of double-layered metal shields against projectile impact [J].J Mech Mater Struct, 2007, 2(7):1309-1330. doi: 10.2140/jomms
    [14] DEY S, BØRVIK T, HOPPERSTAD O S, et al.The effect of target strength on the perforation of steel plates using three different projectile nose shapes [J].Int J Impact Eng, 2004, 30(8/9):1005-1038. http://www.sciencedirect.com/science/article/pii/S0734743X04000971
    [15] 孙炜海.锥头弹丸正撞击下金属靶板破坏模式的理论和数值模拟研究[D].合肥: 中国科学技术大学, 2009: 74-76.

    SUN W H.Theoretical and numerical study on failure modes of metal plate under normal impact by conical-nosed projectiles [D].Hefei: University of Science of Technology of China, 2009: 74-76.
    [16] CHEN X W, HUANG X L, LIANG G J.Comparative analysis of perforation models of metallic plates by rigid sharp-nosed projectiles [J].Int J Impact Eng, 2011, 38(7):613-621. doi: 10.1016/j.ijimpeng.2010.12.005
    [17] ROSENBERG Z, DEKEL E.Revisiting the perforation of ductile plates by sharp-nosed rigid projectiles [J].Int J Solids Struct, 2010, 47(22/23):3022-3033. http://www.wanfangdata.com.cn/details/detail.do?_type=perio&id=340db104cf72e2091ad939b18ea5648a
  • 加载中
图(11) / 表(1)
计量
  • 文章访问数:  7939
  • HTML全文浏览量:  3788
  • PDF下载量:  125
出版历程
  • 收稿日期:  2016-11-20
  • 修回日期:  2016-12-20

目录

    /

    返回文章
    返回