Ballistics Study of Projectile Obliquely Penetrating into Concrete with Free-Surface Effect
-
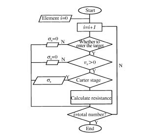
摘要: 研究了弹体斜侵彻混凝土的弹道问题。基于弹靶分离方法,利用考虑自由表面效应的衰减函数构造得到半经验阻力函数,并将靶体对弹体的作用以该阻力函数代替。通过对弹体斜侵彻过程的数值仿真和试验,得出不同工况下,弹体偏转角、加速度随时间的变化情况以及侵彻深度与弹体速度和靶体倾斜角的关系。结果表明,数值仿真结果与试验结果吻合较好,说明考虑自由表面效应的靶体响应力函数方法具有较高的可靠性。Abstract: In our study the performance of projectiles' oblique penetration into concrete was investigated. Based on target and projectile separation, the decay function was constructed with the free-surface effect taken into consideration, and the semi-empirical resistance function was obtained, thus replacing the boundary condition of the target with this decay function.In our simulation and experiment, the deflection angle and the acceleration of the projectile were calculated and, in addition, the relationship between the penetration depth, the oblique angle of the target, and the velocity of the projectile was obtained.The simulation results are in good agreement with the experimental results, which further confirms the reliability of the present theory.
-
Key words:
- free surface effect /
- decay function /
- oblique penetration /
- ballistic trajectory
-
表 1 不同弹体速度下侵彻深度模拟值与试验值的比较
Table 1. Penetration depths:simulation vs. experiment at different velocities
v/(m/s) Oblique angle=20° Oblique angle=40° Penetration depth Relative
errorPenetration depth Relative
errorSim. value Exp. value Sim. value Exp. value 509 147.98 138.43 5.21% 117.98 106.53 8.93% 598 200.37 187.67 6.15% 161.34 150.54 7.23% 700 262.45 238.02 9.28% 211.58 197.98 10.21% 803 324.05 299.67 10.67% 262.36 243.59 10.92% 894 392.87 342.34 11.78% 329.22 296.39 12.98% -
[1] 尹放林, 王明洋, 钱七虎, 等.弹丸斜入射对侵彻深度的影响[J].爆炸与冲击.1998, 18(1):69-76. http://www.wanfangdata.com.cn/details/detail.do?_type=perio&id=QK199800200946YIN F L, WANG M Y, QIAN Q H, et al.Penetration depth of projectile oblique into target[J].Explosion and Shock Waves, 1998, 18(1):69-76. http://www.wanfangdata.com.cn/details/detail.do?_type=perio&id=QK199800200946 [2] MACEK R W, DUFFEY T.Finite cavity expansion method for near-surface effects and layering during earth penetration[J].Int J Impact Eng, 2000, 24(3):239-258. doi: 10.1016/S0734-743X(99)00156-6 [3] LONGCOPE D B, TABBARA M R, JUNG J.Modeling of oblique penetration into geologic targets using cavity expansion penetrator loading with target free-surface effects: SAND99-1104[R].Albuquerque: Sandia National Laboratories, 1999. https://www.researchgate.net/publication/236446639_Modeling_of_Oblique_Penetration_into_Geologic_Targets_Using_Cavity_Expansion_Penetrator_Loading_with_Target_free-Surface_Effects [4] WARREN T L, POORMON K L.Penetration of 6061-T6511 aluminum targets by ogive-nosed VAR 4340 steel projectiles at oblique angles:experiments and simulations[J].Int J Impact Eng, 2001, 25:993-1022. doi: 10.1016/S0734-743X(01)00024-0 [5] WARREN T L, HANCHAK S J, POORMON K L.Penetration of limestone targets by ogive-nosed VAR 4340 steel projectiles at oblique angles:experiments and simulations.Int J Impact Eng.2004, 30:1307-1331. doi: 10.1016/j.ijimpeng.2003.09.047 [6] 何涛, 文鹤鸣.球形弹对金属靶板侵彻问题的数值模拟[J].爆炸与冲击, 2006, 26(5):456-461. doi: 10.3321/j.issn:1001-1455.2006.05.012HE T, WEN H M.Computer simulations of the penetration of metal targets by spherical-nosed projectiles[J].Explosion and Shock Waves, 2006, 26(5):456-461. doi: 10.3321/j.issn:1001-1455.2006.05.012 [7] 何涛, 文鹤鸣.卵形钢弹对铝合金靶板侵彻问题的数值模拟[J].高压物理学报, 2006, 20(4):408-414. doi: 10.3969/j.issn.1000-5773.2006.04.012HE T, WEN H M.Numerical simulations of the penetration of aluminum targets by ogive-nosed projectiles[J].Chinese Journal of High Pressure Physics, 2006, 20(4):408-414. doi: 10.3969/j.issn.1000-5773.2006.04.012 [8] 黄明荣, 顾晓辉.刚性弹体对混凝土靶的侵彻与贯穿机理研究[D].南京: 南京理工大学, 2011. http://cdmd.cnki.com.cn/Article/CDMD-10288-1012320967.htmHUANG M R, GU X H.Penetration and perforation mechanism of rigid projectile into the concrete target[D].Nanjing: Nanjing University of Science and Technology, 2001. http://cdmd.cnki.com.cn/Article/CDMD-10288-1012320967.htm [9] 孔祥振, 方秦, 吴昊.考虑靶体自由表面和开裂区影响的可变形弹体斜侵彻脆性材料的终点弹道分析[J].兵工学报, 2014, 35(6):814-821. http://d.old.wanfangdata.com.cn/Periodical/bgxb201406010KONG X Z, FANG Q, WU H.Terminal ballistics study of deformable projectile penetrating brittle material targets for free-surface and crack region effects[J].Acta Armamentarii, 2014, 35(6):814-821. http://d.old.wanfangdata.com.cn/Periodical/bgxb201406010 [10] FORRESTAL M J, LONGCOPE D B, NORWOOD F R.A model to estimate forces on conical penetrators into dry porous rock[J].J Appl Mech Trans ASME, 1981, 48:25-29. doi: 10.1115/1.3157587 [11] Syst6mes D.Abaqus610:analysis user's manual[M].Providence, RI:Dassault Systemes Simulia Corp.2010. -

下载: